用途
ZKTJ-600/1140型陶瓷真空開關管采用高氧化鋁陶瓷作絕緣外殼,管內以高真空作介質,因而,其體積小,耐高壓、分斷能力強、使用壽命長、觸頭不必維修,尤其是因其電弧不外露,安全可靠的優點,為煤炭、電力、化工、冶金、石油等工業部門所廣泛采用。
該產品配以合適的操動機構,可裝配成高、中、低壓交流斷路器或交流接觸器、用于高、中、低壓配電控制裝置,供遠距離接通與分斷電動機,變壓器、電容器組等,特別適宜組成隔爆型磁力起動器。單極接觸器將特別適宜路燈,機場照明控制電力部門的改造。
ZKTJ-600/1140型陶瓷真空開關管技術參數
|
額定工作電壓1140V; |
額定工作電流600A; |
額定接通能力6kA,100次 |
| 額定分斷能力4.8KA,25次; |
極限分斷能力6KA,3次 |
額定短時耐受電流4.8KA; |
| 額定短路持續時間10S; |
工頻耐受電壓10KV; |
電壽命AC4 0.5萬次 |
| 機械壽命100萬次; |
觸頭額定開距2.1±0.2mm; |
觸頭自閉力115±11N; |
| 觸頭額定開距時的反力140±14N; |
|
|
| 觸頭自閉力下的接觸電阻≤100μΩ; |
|
|
| 觸頭允許磨損厚度1mm; |
|
|
| 開關管的最大質量1kg; |
|
|
| 配用接觸器CKJ5--600型。 |
|
|
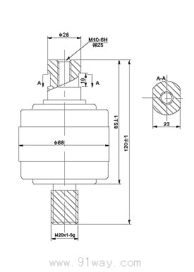
外形尺寸及安裝尺寸
