LDC20流量傳感器
1.不受溫度、壓力、密度、粘度和電導率(不小于最低電導率)變化的影響。
2.傳感器結構簡單,無節流件,不堵塞,故適合于帶有固體顆粒、纖維、懸浮物如泥漿、紙 漿、礦漿、污水等介質的測量。
3.安裝簡單,不需斷流,現場可帶壓開孔 (1.0MPa以下),既經濟又方便。
4.顯示累積流量(十四位顯示)、瞬時流量(六位顯示)。
5.操作設置方便,通過磁隔離鍵或面板上鍵盤或手操器或上位機均可完成設置。
6.零點自校準,消除零漂移。
7.在標定最大流量范圍內,量程可任意設置。
8.正反流向測量,若無特殊要求,出廠為正向測量。
9.小信號切除功能,用戶可通過顯示器面板設置切除干擾性小流量。
10.上下限報警,用戶可根據實際需要設定上下限瞬時流量,當流量超過上限或低于下限設定值時蜂鳴器報警或有繼電器輸出(用戶可選)。
11.空管判斷,在工作狀態下,當流量計測量管內空管,瞬時流量顯示為EPo。
12.密碼鎖存功能,流量計通電后,若設置參數,須輸入四位密碼,進行參數設置。
13.斷電保護功能,流量計運算結果和用戶設置參數在斷電后不會丟失,由E2PROM儲存,數據能長期保存,并可通過面板操作,查當前24小時內各小時累計流量。
14.滑動濾波0~20。
15.針對不同的導電介質,儀表系數可修正。
LDC20流量傳感器技術參數
適用管徑: ≥80mm
傳感器材質: 不銹鋼(1Cr18Ni9Ti)
適用介質: 導電率≥5μs/cm的液體
流量測量范圍: 可測量范圍0.1~10m/s;
量程上限范圍0.5~10m/s;
推薦使用范圍1~5m/s。
精度等級: 1.0級,2.0級
輸出信號: 4~20mADC,負載≤750Ω;
0~3kHz,5V有源,可變脈寬,高端有效頻率輸出。
RS485接口
工作壓力: 1.0MPa,1.6MPa,4MPa,25MPa
流體溫度: -40℃~0℃,0℃~70℃,70℃~180℃
環境溫度: 傳感器-40℃~100℃;轉換器-15℃~50℃。
環境濕度: ≤85%RH(20℃時)
電纜出口尺寸: M20×1.5
供電電源: 220VAC±10%;50Hz±1Hz;24VDC±10%
功 耗: ≤8W
外殼防護等級: 一體式:IP65,分體式:傳感器IP68;轉換器IP65
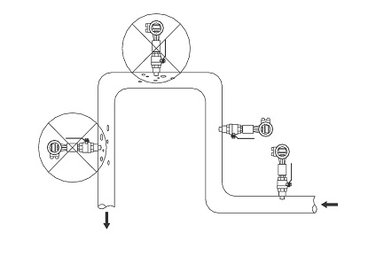
插入式電磁流量計安裝示意圖

選型提示
選購LDC插入式電磁流量計需詳細確定以下參數管道管徑,測量介質,工作溫度,工作壓力,供電電源,輸出方式(4-20mA輸出)、量程范圍、管道材質,管道壁厚。