一、用途及特點:
CZ型倉壁振動器用于防止和排除各種料倉由于物料的內磨擦、潮解、帶電、成份偏析等原因引起的“堵塞”、“搭拱”現象。是物料從料倉口順利排出,保證整個生產流程正常進行的良好輔助設備,廣泛應用于礦山、冶金、化工、建材、機械等各行各業中。
CZ型倉壁振動器是靠高頻振動和沖擊力,有效地消除物料由于內磨擦、潮解、帶電、成份偏析等原因引起的堵塞、塔拱現象,使物料從料倉口順利排出。保證穩定地供料所必需的設備。CZ型倉壁振動器已廣泛地應用于礦山、冶金、化工、建材、機械等各行業中。
二、規格及性能
CZ系列倉壁振動器性能參數見表:
| 項目/型號 |
CZ10 |
CZ50 |
CZ100 |
CZ250 |
CZ400 |
CZ600 |
CZ800 CZ1000 |
| 振動力(kg) |
10 |
50 |
100 |
250 |
400 |
600 |
800 |
| 有效功率(W) |
20 |
30 |
55 |
60 |
120 |
150 |
200 |
| 工作電壓(V) |
220 |
220 |
220 |
220 |
220 |
220 |
220 |
| 電源頻率(HZ) |
50 |
50 |
50 |
50 |
50 |
50 |
50 |
| 表示電源(A) |
≤0.3 |
≤0.5 |
≤0.9 |
≤1.2 |
≤2.0 |
≤2.3 |
≤3.8 |
| 振動頻率(次/分) |
3000 |
3000 |
3000 |
3000 |
3000 |
3000 |
3000 |
| 振動體掁幅(mm) |
1.5 |
1.5 |
1.5 |
1.5 |
2.2 |
2.2 |
2.5 |
| 控制方式 |
半波整流 |
半波整流 |
半波整流 |
半波整流 |
半波整流 |
半波整流 |
半波整流 |
| 整機重量(kg) |
2.6 |
10 |
15 |
35 |
62.5 |
70 |
119 |
| 適于安裝料倉壁厚(mm) |
0.6-0.8 |
1.2-1.6 |
2.5-3.2 |
4-8 |
6-10 |
6-12 |
6-14 |
注:適于安裝料倉壁厚其板值供參
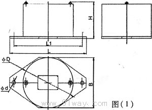
三、外型尺寸
外型尺寸如圖:圖(2)為CZ250、CZ400、CZ600、CZ800、CZ1000型螺旋彈簧倉振器,圖(1)為CZ10型、CZ50、CZ100型為環氧板簧倉振器。


外型尺寸表
| 型號規格 |
外形尺寸 |
| L |
L1 |
B |
B1 |
H |
φD |
φd |
| CZ10 |
183 |
146 |
138 |
|
96 |
φ126 |
2-φ10 |
| CZ50 |
280 |
250 |
185 |
|
128 |
φ180 |
2-φ13 |
| CZ100 |
280 |
250 |
185 |
|
165 |
φ180 |
2-φ13 |
| CZ250 |
360 |
230 |
170 |
145 |
300 |
|
4-φ12 |
| CZ400 |
360 |
230 |
245 |
210 |
360 |
|
4-φ14 |
| CZ600 |
360 |
230 |
245 |
210 |
360 |
|
4-φ14 |
| CZ800 |
522 |
120 |
300 |
230 |
420 |
|
4-φ26 |
| CZ1000 |
522 |
120 |
300 |
230 |
420 |
|
4-φ26 |