XLD單法蘭型星形彈性聯軸器(JB/T 10466-2004)
XLD型星形彈性聯軸器的適用范圍和性能特點
本聯軸器是以工程塑料作彈性元件,適用于聯接兩同軸線的傳動軸系,具有補償兩軸相對偏移、緩沖、減震、耐磨性能,適應場合普遍,傳遞轉矩20-35000.N.M,工作溫度-35-+80攝氏度并與德國ROTEX聯軸器互換。
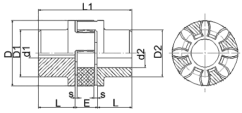
XLD星型擴大軸孔彈性聯軸器
本聯軸器與XL型相似,但是適合于孔徑更大的安裝場合。
標記方法同XL型。
XLD擴大型軸孔星型彈性聯軸器的基本尺寸和參數
| 型號 |
公稱扭矩N.M |
許用轉速rpm |
軸孔直徑d1、d2 |
軸孔長度L1、L2 |
L。 |
D |
D1 |
D2 |
E |
S |
轉動慣量kg.m^2 |
重量 kg |
| mm |
| XLD1 |
34 |
19000 |
6-24 |
25 |
66 |
40 |
32 |
40 |
16 |
2 |
0.00008 |
0.328 |
| XLD2 |
120 |
14000 |
8-28 |
30 |
78 |
55 |
40 |
55 |
18 |
2 |
0.0003 |
0.68 |
| XLD3 |
320 |
11800 |
10-38 |
35 |
90 |
65 |
48 |
65 |
20 |
2.5 |
0.0007 |
1.16 |
| XLD4 |
650 |
9500 |
12-45 |
45 |
114 |
80 |
66 |
78 |
24 |
3 |
0.002 |
2.27 |
| XLD5 |
900 |
8000 |
14-55 |
50 |
126 |
95 |
75 |
94 |
26 |
3 |
0.005 |
3.57 |
| XLD6 |
1050 |
7100 |
15-60 |
56 |
140 |
105 |
85 |
104 |
28 |
3.5 |
0.008 |
4.80 |
| XLD7 |
1250 |
6300 |
20-70 |
65 |
160 |
120 |
98 |
118 |
30 |
4 |
0.016 |
7.87 |
| XLD8 |
1280 |
5600 |
22-75 |
75 |
185 |
135 |
115 |
134 |
35 |
4.5 |
0.031 |
10.89 |
| XLD9 |
2930 |
4750 |
30-90 |
85 |
210 |
160 |
135 |
158 |
40 |
5 |
0.068 |
17.73 |
| XLD10 |
7200 |
3750 |
40-100 |
100 |
245 |
200 |
160 |
180 |
45 |
5.5 |
0.159 |
29.60 |
| XLD11 |
9900 |
3350 |
50-110 |
110 |
270 |
225 |
180 |
200 |
50 |
6 |
0.277 |
43.0 |
| XLD12 |
12000 |
3000 |
60-125 |
120 |
295 |
255 |
200 |
230 |
55 |
6.5 |
0.51 |
58.6 |
| XLD13 |
15000 |
2650 |
60-145 |
140 |
340 |
290 |
230 |
265 |
60 |
7 |
1.0 |
88.4 |
| XLD14 |
22000 |
2360 |
60-165 |
155 |
375 |
320 |
256 |
300 |
65 |
7.5 |
1.7 |
120.8 |
| XLD15 |
30000 |
2000 |
80-190 |
175 |
425 |
370 |
290 |
345 |
75 |
9 |
3.35 |
179.1 |
| XLD16 |
35000 |
1800 |
85-220 |
195 |
475 |
420 |
325 |
400 |
85 |
10.5 |
6.37 |
261.0 |
